1
/
of
2
Porsche Genuine Parts
Pan-Head Screw M 6 X 10 99921803008
Pan-Head Screw M 6 X 10 99921803008
Regular price
$3.63 USD
Regular price
$3.63 USD
Sale price
$3.63 USD
Shipping calculated at checkout.
Availability: In stock, ships in 24 hours or less
Quantity
Couldn't load pickup availability
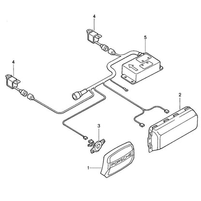
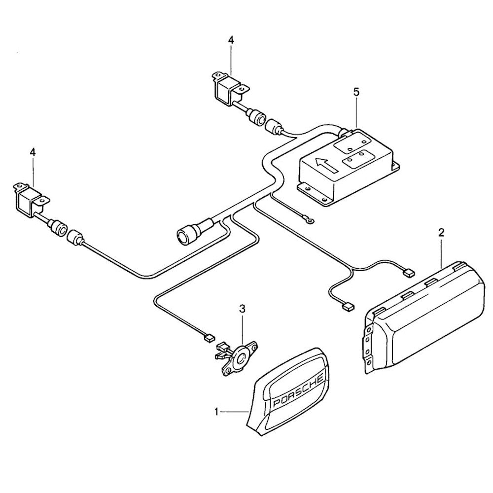
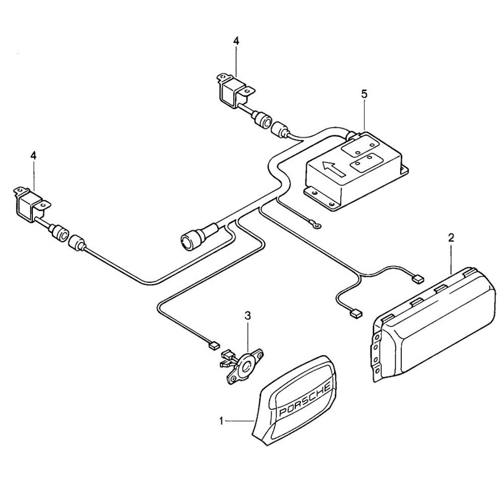
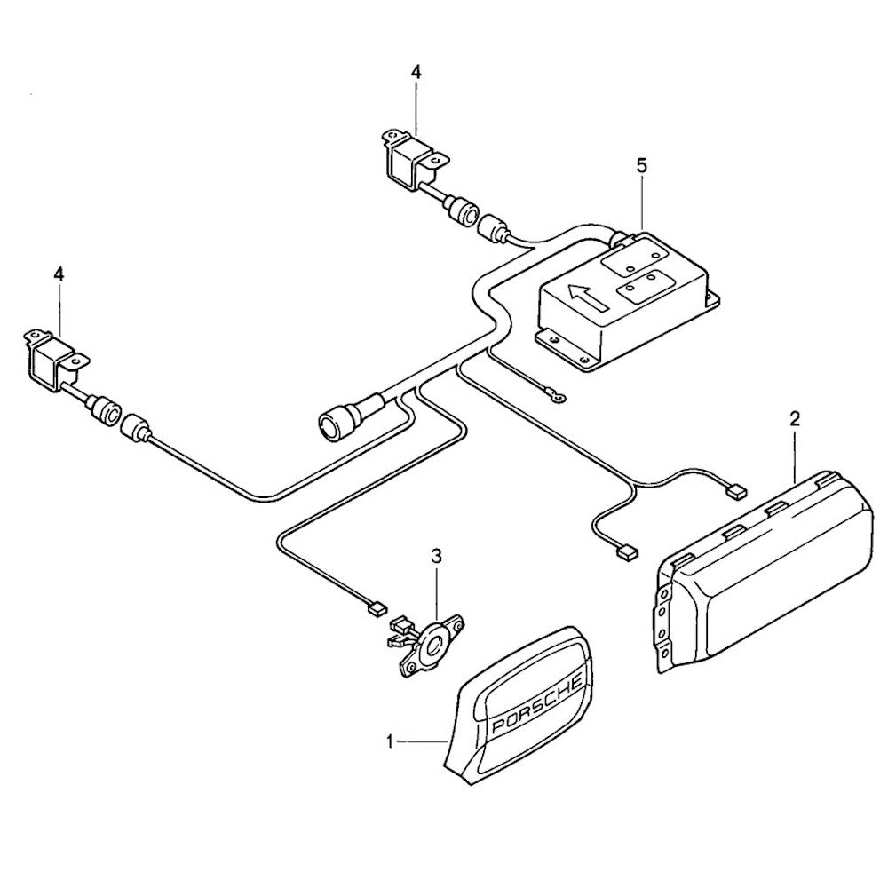
Porsche 99921803008 Pan-Head Screw M 6 X 10
1989 to 1991 Porsche 944 Pan-Head Screw M 6 X 10 99921803008 (recommended qty of 4)
Part number : 999.218.030.08, 999 218 030 08
Fits:
- Porsche 944 / 1989 - 1991
- Porsche 968 / 1992 - 1995
Share
